Содержание
Принципиальные схемы электрооборудования автомобиля Renault Trafic – предохранители и реле с их обозначениями и номиналами.
Предохранители и реле, размещённые в блоках автомобиля Renault Trafic
Предохранители и реле – назначение и обозначения
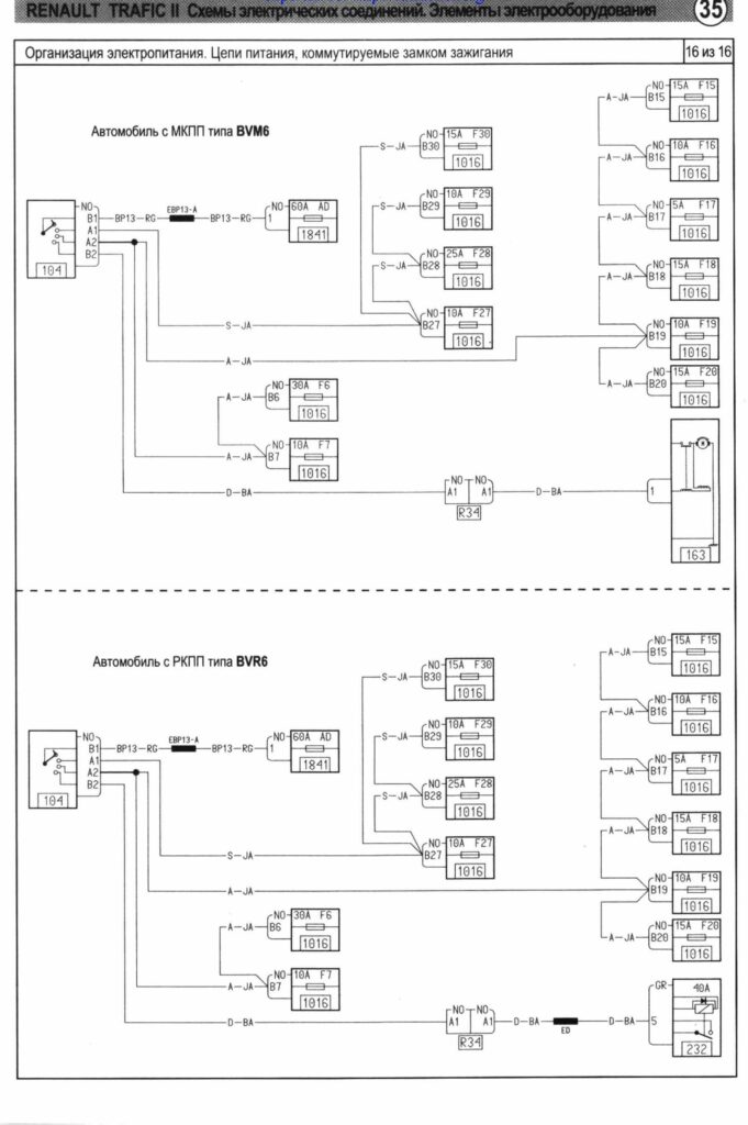
Предохранители и реле – цепи питания
Блок предохранителей в салоне авто
Блок реле потребителей энергии Renault Trafic
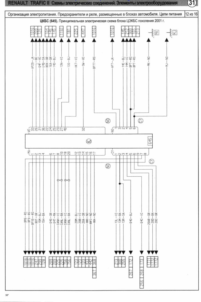
Центральный электронно-коммутирующий блок
Наименование и назначение ЦЭКБС
Электрическая схема блока 362
Цепи коммутируемые замком зажигания Рено Трафик
Коды цепей питания – таблица
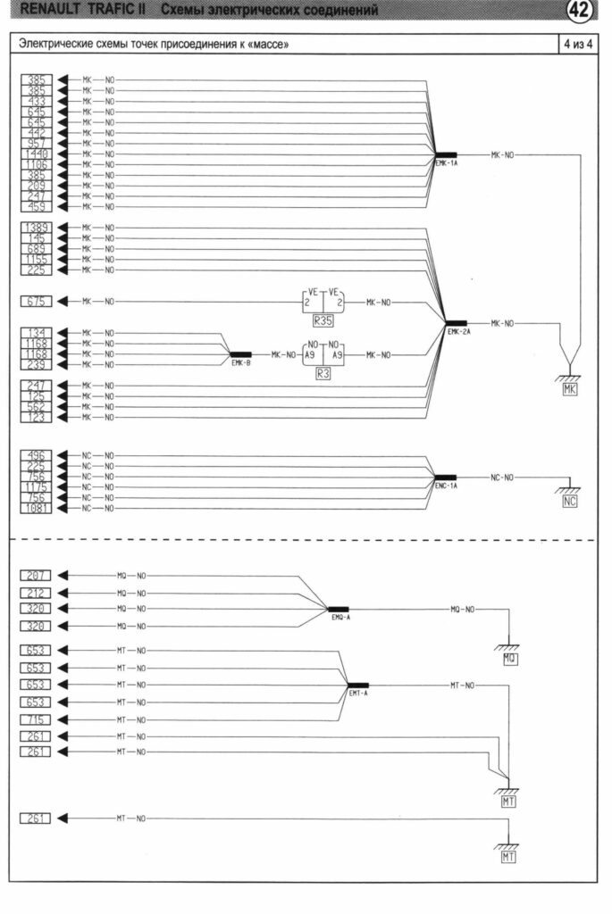
Электрические схемы точек подсоединения к массе
Нажмите, чтобы оценить эту статью!
(Голосов: 3 Рейтинг: 5)



















